一、如何拆解
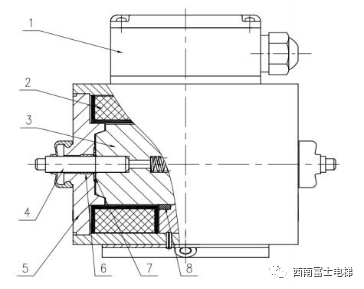
(1)制动器结构示意图
 ����� �������Ƴ������������ �������Ƴ������������ �������Ƴ������������ �������Ƴ�������; &nb����� �������Ƴ������������ �������Ƴ������������ �������Ƴ������������ �������Ƴ�������sp; &����� �������Ƴ������������ �������Ƴ������������ �������Ƴ������������ �������Ƴ�������nbsp; &nb����� �������Ƴ������������ �������Ƴ����������� �������Ƴ������������ �������Ƴ�������sp; &����� �������Ƴ������������ �������Ƴ������������ �������Ƴ������������ �������Ƴ�������nbsp; &n����� �������Ƴ������������ �������Ƴ������������ �������Ƴ������������ �������Ƴ�������bsp; ����� �������Ƴ������������ �������Ƴ������������ �������Ƴ������������ �������Ƴ�������
|
序号 |
 ����� �������Ƴ������������ �������Ƴ������������ �������Ƴ������������ �������Ƴ�������; 名称 |
 ����� �������Ƴ������������ �������Ƴ������������ �������Ƴ������������ �������Ƴ�������; 序号 |
����� �������Ƴ������������ �������Ƴ������������ �������Ƴ������������ �������Ƴ�������名称 |
|
1 |
接线盒 |
5 |
静铁芯 |
|
2 |
线圈组件 |
6 |
滑动轴承 |
|
3 |
动铁芯 |
7 |
减震垫 |
|
4 |
导向轴 |
8 |
隔圈 |
鼓式制动器、摩托车刹车圈、Drum brake、轮毂刹车圈专业生产厂家无锡九环2023年6月26日讯 动铁芯灵活性检查: 轴向推动铁芯的导向轴, 如果导向轴复位流畅, 说明机械方面没 有问题,不需要拆解维护; 若无法复位或者在 2 秒内不能完全复位,则需要对制动器进����� �������Ƴ����������� �������Ƴ������������ �������Ƴ����������� �������Ƴ�������行 拆解维护,清理动静铁芯。
(2)拆解步骤
1.先将鼓式制动器接线盒内的电源线和微动开关线拆下,����� �������Ƴ������������ �������Ƴ������������ �������Ƴ������������ �������Ƴ������� 再松开制动器固定螺栓, 把制动器取下。
2、拆下 90°接头和螺钉 M8(对应 FT125、FT160 主机);或拆下微动开关组件(����� �������Ƴ������������ �������Ƴ������������ �������Ƴ������������ �������Ƴ�������对应 YJ125、 YJ140 主机)。
����� �������Ƴ������������ �������Ƴ������������ �������Ƴ������������ �������Ƴ������� ����� �������Ƴ������������ �������Ƴ������������ �������Ƴ������������ �������Ƴ������� &nbs����� �������Ƴ������������ �������Ƴ������������ �������Ƴ������������ �������Ƴ�������p; ����� �������Ƴ����������� �������Ƴ������������ �������Ƴ������������ �������Ƴ������ &����� �������Ƴ������������ �������Ƴ������������ �������Ƴ������������ �������Ƴ�������nbsp; &nbs����� �������Ƴ������������ �������Ƴ������������ �������Ƴ������������ �������Ƴ�������p; ����� �������Ƴ������������ �������Ƴ������������ �������Ƴ������������ �������Ƴ������� &nbs����� �������Ƴ������������ �������Ƴ������������ �������Ƴ������������ �������Ƴ�������p; ����� �������Ƴ������������ �������Ƴ������������ �������Ƴ������������ �������Ƴ������� F����� �������Ƴ������������ �������Ƴ������������ �������Ƴ������������ �������Ƴ�������T125 、FT160 示意图
3.将专用工装(详询生产厂商) 装到制����� �������Ƴ������������ �������Ƴ������������ �������Ƴ������������ �������Ƴ�������动器壳体上,再将螺栓&nb����� �������Ƴ������������ �������Ƴ����������� �������Ƴ����������� �������Ƴ�������sp;M8×35 和垫圈穿过工装孔
拧入静铁芯螺孔 M8 内,均匀缓慢拧紧两件螺栓 M8 ,直至静铁芯组件拆下。
4.取出动铁芯组件、弹簧和垫片。
二、如何清洗保养
|
零部件 |
检查项目 |
处理方法 |
|
隔圈 |
隔圈处是否有锈蚀粉尘及 磨损痕迹 |
1.用抹布擦净粉尘 2.如磨损严重,并严重影响动铁芯动作,建议直����� �������Ƴ������������ �������Ƴ������������ �������Ƴ����������� �������Ƴ�������接更换
|
|
动铁芯组件 (动铁芯) |
动铁芯外表面是否有油污 和锈蚀粉尘及锈蚀痕迹 |
1.用抹布擦净 2.用细砂纸(600以上)打磨,去除锈蚀 部分 3.表面均匀涂一层二硫化钼润滑脂,不得流 挂(建议有条件可以执行该步骤) &nbs����� �������Ƴ������������ �������Ƴ������������ �������Ƴ������������ �������Ƴ������p; &n����� �������Ƴ������������ �������Ƴ������������ �������Ƴ������������ �������Ƴ�������bsp; 4.生锈一半以下做打磨处理����� �������Ƴ������������ �������Ƴ������������ �������Ƴ����������� �������Ƴ�������,一半以上做更 换处理 |
|
动铁芯端面是否有油污、锈 蚀和凹坑(与松闸杆接触一 侧的端面) |
1.用抹布擦净 ����� �������Ƴ������������ �������Ƴ������������ �������Ƴ������������ �������Ƴ������� ����� �������Ƴ������������ �������Ƴ������������ �������Ƴ������������ �������Ƴ������� &����� �������Ƴ������������ �������Ƴ������������ �������Ƴ������������ �������Ƴ�������nbsp;  ����� �������Ƴ������������ �������Ƴ������������ �������Ƴ������������ �������Ƴ�������;  ����� �������Ƴ������������ �������Ƴ����������� �������Ƴ������������ �������Ƴ�������;  ����� �������Ƴ������������ �������Ƴ����������� �������Ƴ����������� �������Ƴ������; &nb����� �������Ƴ������������ �������Ƴ������������ �������Ƴ������������ �������Ƴ�������sp; &nb����� �������Ƴ����������� �������Ƴ������������ �������Ƴ������������ �������Ƴ�������sp; 2.用砂纸打磨,去除锈蚀部分 &����� �������Ƴ������������ �������Ƴ������������ �������Ƴ������������ �������Ƴ�������nbsp;  ����� �������Ƴ������������ �������Ƴ������������ �������Ƴ������������ �������Ƴ�������; &nbs����� �������Ƴ������������ �������Ƴ����������� �������Ƴ������������ �������Ƴ������p; &nbs����� �������Ƴ������������ �������Ƴ������������ �������Ƴ������������ �������Ƴ�������p;3.表面均匀涂一层二硫化钼润滑脂,不得流 挂(建议有条件可以执行该步骤) &����� �������Ƴ������������ �������Ƴ������������ �������Ƴ����������� �������Ƴ�������nbsp; &nb����� �������Ƴ����������� �������Ƴ������������ �������Ƴ������������ �������Ƴ�������sp; &����� �������Ƴ������������ �������Ƴ������������ �������Ƴ������������ �������Ƴ�������nbsp; 4.如凹坑深度大于 1mm,应立即更换电磁铁 组件 |
|
|
使用卡尺测量动铁芯直径 |
磨损变化量超过 0.5mm 时(离端面����� �������Ƴ������������ �������Ƴ������������ �������Ƴ������������ �������Ƴ������� 15mm 范围 |
|
|
|
内,如图示),应更换电磁铁组件 |
|
动铁芯组件 (导向轴) |
导向轴外表面是否有油污 和锈蚀粉尘及锈蚀痕迹 |
1.用抹布擦净 2.用细砂纸(600 目以上)打磨 ����� �������Ƴ������������ �������Ƴ����������� �������Ƴ������������ �������Ƴ������� &nb����� �������Ƴ������������ �������Ƴ����������� �������Ƴ������������ �������Ƴ�������sp; ����� �������Ƴ������������ �������Ƴ������������ �������Ƴ������������ �������Ƴ������� 3.表面均匀涂一层二硫化钼润滑脂,不得流 挂(建议有条件可以执行该步骤) ����� �������Ƴ������������ �������Ƴ������������ �������Ƴ������������ �������Ƴ������� ����� �������Ƴ������������ �������Ƴ����������� �������Ƴ������������ �������Ƴ�������  ����� �������Ƴ������������ �������Ƴ������������ �������Ƴ������������ �������Ƴ�������;4.生锈一半以下做打磨处理,一半以上做更 换处理 |
|
使用卡尺测量导向轴直径 |
磨损变化量超过 0.5mm(15mm 范围内,如图 示)时,应更换电磁铁组件 |
|
|
滑动轴承 |
滑动轴承内孔是否有锈蚀 粉尘及磨损痕迹 |
1.用抹布擦净粉尘 2.如磨损严重,并严重影响动铁芯动作,建议直接更����� �������Ƴ������������ �������Ƴ������������ �������Ƴ������������ �������Ƴ�������换
|
|
减震垫 |
减震垫是否变形或者破损 严重 |
更换 |
三、如何组装
1、清洁静铁芯组件的轴承内圈和动铁芯组件的导����� �������Ƴ������������ �������Ƴ������������ �������Ƴ������������ �������Ƴ�������向轴外圆, 将减震垫装入导向轴后一起装 入静铁芯的轴承内孔,拉动静铁芯,确保静铁芯在导向轴上自����� �������Ƴ������������ �������Ƴ������������ �������Ƴ������������ �������Ƴ������由滑动。
2、将弹簧装入动铁芯, 再将静铁芯组件一起装入罩壳组件(注意静铁芯螺孔相对安装位置), 用铜锤和替打(详询生产厂商) 敲击到����� �������Ƴ������������ �������Ƴ������������ �������Ƴ������������ �������Ƴ�������位(手动松闸手柄位置应在正中间����� �������Ƴ������������ �������Ƴ������������ �������Ƴ������������ �������Ƴ�������)。转动松闸 杠杆,确认左右铁芯与松闸杠杆间隙要基本一致。
注意: 静铁芯外圆与罩壳组件内圆����� �������Ƴ������������ �������Ƴ������������ �������Ƴ������������ �������Ƴ�������配合时应是紧配合,如果配合过松的话请联系生产
3、装上 90°接头和螺钉 ����� �������Ƴ������������ �������Ƴ������������ �������Ƴ����������� �������Ƴ�������M8(对应 FT125、FT160 主机);或装上微动开关组件(对应 YJ125、 YJ140 主机)
4、将制动器装到曳引机上,����� �������Ƴ����������� �������Ƴ������������ �������Ƴ������������ �������Ƴ������� 参照制动系统维护与保养操作指导书进行调����� �������Ƴ������������ �������Ƴ������������ �������Ƴ������������ �������Ƴ������整。制动器接通和 断开电源, 检查: 制动器动作灵活。如果制动器还是不能灵活����� �������Ƴ������������ �������Ƴ������������ �������Ƴ������������ �������Ƴ�������动作, 则应联系生产厂商 直接更换。




